访问量: 9986525   网址: turck.chinadbs.com    在线留言  加入收藏
PROFIBUS线缆 D9-451-2M-2M
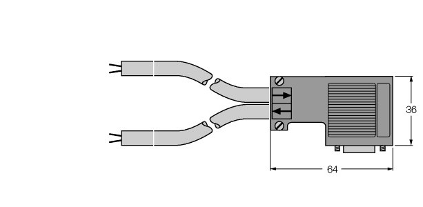
PROFIBUS线缆 D9-451-2M-2M图片
货号:6915749
产地:德国
EAN码:4047106114947
eCl@ss-Code (V5.1.4):27060307 -/- 总线线缆
关税编号:85444290900
索取资料及报价
产品介绍

PROFIBUS线缆

TPUS 线缆护套

订货号: 6915749

  • PROFIBUS电缆:2 x 0.34 mm2
  • 护套材质:PUR,颜色:紫色
  • 护套直径:7.6 mm
  • 适用于拖链场合
  • 抗油及紫外线辐射和化学腐蚀
  • 阻燃性符合DIN EN 60332-2-2、VDE 0482-332-2-2、IEC 60332-2-2、CSA FT-2标准
  • 无卤素,符合DIN EN 50267-2-1、VDE 0482-267-2-1、IEC 60754-1标准
  • 无硅、PVC和LABS
  • 抗微生物分解和水解
  • 符合RoHS标准
  • UL认证
  • 2个电缆开口端
  • 具有2个电缆出口的SUB-D型接头
  • 电缆长度:2 x 2.0 m

技术数据:

重量317 g
应用总线
线芯数量2
机械连接D-Sub
设计弯角
设计接插件
网络协议PROFIBUS-DP
额定工作电压250 V
电流4 A
线缆材质PUR
彩色导线
认证UL, CSA
线缆长度2.0  m
相关产品
我要咨询关闭
  • 姓名* 
  • 电话* 
  • 单位* 
  • email*
  • 留言内容:*
  • 验证码*  
  • 让更多商家关注