excom I/O系统 TI-CJC-2 (10PCS)
|
货号:6884209 产地:德国
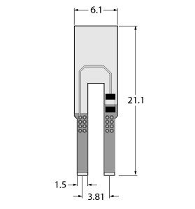
EAN码:4047101370348 eCl@ss-Code (V5.1.4):27250381 -/-文档(分散外围设备)[AGZ340004] 关税编号:85369095000 索取资料及报价产品介绍 excom I/O系统 CJC模块(笼式弹簧夹端子) 订货号: 6884209 冷端补偿元件(Pt100)用于使用TI40…的热电偶测量和使用STB16-4RC/1,5型的可拆卸弹簧式接线端子 技术数据:
|
相关产品
|




